Пермские учёные и студенты разработали и протестировали устройство для производства снегоблоков

[12:50] 06.12.2022
3 975
По сравнению с аналогами устройство более простое в использовании и мобильно, а также отличается невысокой стоимостью. Спрессованные с его помощью «кирпичи» будет проще утилизировать с улиц городов. 

Установку для прессования снега разработали и протестировали учёные и студенты Пермского национального исследовательского политехнического университета (ПНИПУ).

Результаты работы исследователи опубликовали в журнале «Вестник ПНИПУ. Прикладная экология. Урбанистика» (2022).  В работе приняли участие студентки строительного факультета Пермского Политеха Софья Мырзина и Ксения Озерова, а также их научный руководитель, доцент кафедры «Общая физика», кандидат технических наук Олег Зверев. Устройство запатентовали.

«Сейчас для уборки снега чаще всего используют два способа: безвывозной и вывозной. Первый способ неэкологичен и не обеспечивает беспрепятственного движения транспорта и безопасности людей. Во втором случае снег вывозят на специально оборудованные полигоны, что позволяет не загрязнять окружающую среду. Его плотность составляет от 250 до 350 кг/ м3. Самосвал с грузоподъёмностью 20 тонн может вывозить не более 7 тонн снега за один раз. Мы предложили увеличить его плотность, чтобы повысить рациональность работы техники», – рассказывает руководитель проекта, доцент кафедры «Общая физика», кандидат технических наук Олег Зверев.

Исследователи разработали и протестировали технологию формирования снегоблоков высокой плотности — до 540 кг/м3. Благодаря использованию нового устройства «снежные кирпичи» становятся прочнее, что упрощает их подъем и транспортировку.

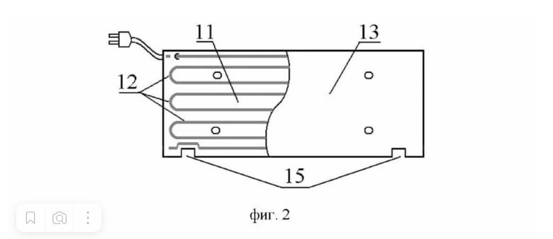
«Наше устройство включает объёмный корпус с верхней и боковыми стенками. Две из них во время прессования снега остаются неподвижными, а параллельные стенки перемещаются за счёт привода уплотнительного механизма. Он состоит из винтовых шпилек с гайками. Панели корпуса устройства представляют собой основу из фанеры с пазами, в которые вставлен нагревательный кабель общей мощностью два киловатта. Он закрыт листом оцинкованной стали», – объясняет одна из исследователей, студентка третьего курса строительного факультета Пермского Политеха Софья Мырзина.



По словам разработчиков, изобретение представляет собой подогреваемую опалубку с возможностью прессования снега. После формирования снегоблока нужно выключить нагрев и разобрать установку, а затем блок замерзает. Далее все операции повторяются на новом месте. Когда накапливается достаточное количество снегоблоков, их поднимают с помощью кран-борта. Стропы продевают через канавки в нижней ледяной части снегоблока. 

Спрессованные с помощью разработанного устройства «кирпичи» будет проще утилизировать с улиц городов. Из снежных блоков можно также возводить сооружения высотой до трёх метров, которые используют при строительстве зимних автодорог, аэродромов и снегозадерживающих стен. 

Фото и рисунки: Пресс-служба Пермского Политеха

Заметили ошибку? Выделите её и нажмите Ctrl+Enter
Другие новости раздела «Наука»
21.10 [11:41] 3 040
В Пермском крае создан региональный совет по научно-технологическому развитию
Как сообщили в Минобре Пермского края, совещательный орган образован в целях обеспечения взаимодействия представителей власти, научных организаций, реального сектора экономики и общественных объединений. 
29.09 [16:12] 2 512
Увидеть комету
Во второй половине октября жители Прикамья смогут невооружённым глазом наблюдать за кометой.
06.06 [11:52] 3 385
Лекарство из борщевика разрабатывается пермскими учёными
Выяснилось, что опасный сорняк борщевик Сосновского обладает высокой противогрибковой активностью.
12.04 [10:44] 4 242
«Кардинальные изменения в науке, культуре и искусстве»
Чайковский писатель, поэт, общественный деятель, учредитель культурно-просветительского Фонда «Светлая Идея» Владимир Павлович Чикуров официально стал членом-корреспондентом Международной академии наук и искусств, и выступил с докладом в Москве на её I научно-практической конференции.
14.02 [14:59] 2 780
В Прикамье повышается престиж учёных
С 2025 года докторам наук будут выплачивать по 30 тысяч рублей ежемесячно.
08.11 [14:21] 4 695
Определены ключевые темы Пермского инженерно-промышленного форума 2023
В рамках VIII Пермского инженерно-промышленного форума, который пройдёт в конце ноября в столице Прикамья, состоится более 50 мероприятий для представителей бизнеса и 20 научно-технических советов с участием ведущих предприятий и холдингов Прикамья и России, сообщили в оргкомитете ПИПФ.

Чайковский: самое интересное

Подпишитесь на наши новости

Ваш email: